对焊连接直流式T型过滤器是管道输送液体过程中清除固体杂质的设备。液体流经过滤器时,其中的杂质被滤出,可保护机泵、压缩机、仪表和其它设备正常工作。当需要清洗时,只要将可拆卸的滤筒取出,去除滤出的杂质后,重新装入即可,使用维护极为方便。化工、石油生产及城市供热中的弱腐蚀性物料。如水、氨、油品、烃类等。化工生产中的腐蚀性物料。如纯碱、硫酸、硝酸、醋酸等。制冷、空分生产中的低温物料。如液甲烷、液氮、液氧及各种冷剂。轻工食品、制药生产中有卫生要求的物料。如啤酒、饮料、医药用品等。对焊连接直流式T型过滤器可拦截的固体颗粒粒径:131~2032μm。PN1.6~5.0MPa DN50~300壳体材料:铸铁、碳钢、不锈钢。
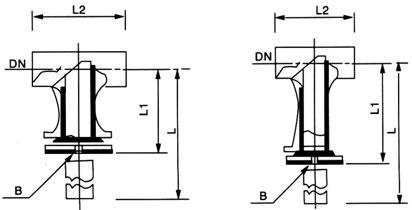
结构示意图

主要尺寸
| 名称 | 公称直径
DN(mm) | PN2.0 | PN5.0 | B(in) |
|---|
| L2 (mm) | L1(mm) | L(mm) | L2 (mm) | L1(mm) | L(mm) |
|---|
| 普通型 | 50 | 250 | 149 | 281 | 268 | 158 | 298 | R1/2 |
| (65) | 292 | 170 | 325 | 304 | 179 | 337 | R1/2 |
| 80 | 312 | 181.5 | 352 | 330 | 195.5 | 370 | R1/2 |
| 100 | 362 | 267 | 412 | 382 | 225 | 432 | R3/4 |
| 1 50 | 464 | 259.5 | 539 | 482 | 280 | 557 | R314 |
| 200 | 560 | 311 | 660 | 578 | 332.5 | 678 | R3/4 |
| 250 | 636 | 350.5 | 761 | 666 | 383 | 791 | R314 |
| 300 | 736 | 400 | 886 | 768 | 437 | 91 8 | R3/4 |
| 350 | 81 2 | 441 | 955 | 844 | 476 | 990 | R3/4 |
| 400 | 864 | 469 | 1025 | 902 | 509 | 1060 | R3/4 |
| 名称 | 公称直径 | PN2.0 | PN5.O | B (in) |
|---|
| DN(mm) | L2(mm) | L1(mm) | L(mm) | L2(mm) | L1(mm) | L(mm) |
|---|
| 普通型 | 50 | 250 | 235 | 450 | 268 | 235 | 450 | R1/2 |
| (65) | 292 | 265 | 51 0 | 304 | 265 | 510 | R1/2 |
| 80 | 31 2 | 300 | 570 | 330 | 300 | 570 | R1/2 |
| 1 00 | 362 | 355 | 700 | 382 | 355 | 700 | R3/4 |
| 1 50 | 464 | 485 | 900 | 482 | 445 | 900 | R3/4 |
| 200 | 560 | 510 | 1030 | 578 | 51 0 | 1030 | R3/4 |
| 250 | 636 | 590 | 1190 | 666 | 590 | 1190 | R3/4 |
| 300 | 736 | 675 | 1 390 | 768 | 675 | 1390 | R3/4 |
| 350 | 812 | 740 | 1 550 | 844 | 740 | 1550 | R3/4 |
| 400 | 864 | 795 | 1 680 | 902 | 795 | 1 680 | R3/4 |